Фильтр всасывающий
В смазочных и гидравлических системах кузнечно-прессового оборудования, металлорежущих станков, других машин и агрегатов, рабочая среда, в качестве которой используется минеральное масло, со временем загрязняется. Во время трения сопрягаемых деталей при работе механизмов образуется мелкая стружка, взвешенные частицы, грязь. Все это необходимо удалять из гидросистемы.
Технические параметры
| Наименование | Ду, мм | Тонкость фильтрации, мкм | Перепад давления, Мпа | Расход, л/мин | Вес, кг |
| 8-80 | 8 | 80 | 0,007 | 2 | 0,08 |
| 8-160 | 8 | 160 | 0,007 | 2,5 | 0,08 |
| 10-80 | 10 | 80 | 0,007 | 8 | 0,16 |
| 10-160 | 10 | 160 | 0,007 | 10 | 0,16 |
| 20-80 | 20 | 80 | 0,007 | 32 | 0,46 |
| 20-160 | 20 | 160 | 0,007 | 40 | 0,46 |
| 40-80 | 40 | 80 | 0,007 | 125 | 1,42 |
| 40-80-2 | 40 | 80 | 0,007 | 125 | 1,42 |
| 40-160 | 40 | 160 | 0,007 | 160 | 1,42 |
| 40-160-2 | 40 | 160 | 0,007 | 160 | 1,42 |
| 80-80 | 80 | 80 | 0,007 | 320 | 3 |
| 80-160 | 80 | 160 | 0,007 | 400 | 3 |
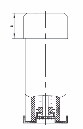
Габаритные и присоединительные размеры фильтра всасывающего исполнение 1 (без предохранительного клапана)
Габаритные и присоединительные размеры фильтра всасывающего исполнение 2 (с предохранительным клапаном)

|
Параметр |
Значение для типоразмера фильтра васывающего сетчатого |
||||
|
Фильтр |
Фильтр |
Фильтр |
Фильтр |
Фильтр |
|
|
- D, не более, мм |
32 |
60 |
60 |
88 |
150 |
|
- H, не более, мм |
70 |
110 |
155 |
210 |
350 |
|
- h, мм |
15-5 |
15-5 |
28±0,5 |
27±0,5 |
33±0,5 |
|
- d, мм |
G1/4"-B |
G3/8"-B |
G3/4"-B |
G1 1/2 "-B |
M80x2-9H8H |
Устройство изделия
Сетчатый фильтр состоит из следующих частей:
- поддерживающего каркаса;
- чашки, расположенной внизу элемента;
- головки с присоединительной резьбой вверху конструкции.
Изделие монтируют на всасывающей магистрали насоса. Бесперебойная работа масляного насоса или мотопомпы зависит не только от уровня рабочей жидкости, но и от правильной и своевременной ее очистки.
Фильтроэлемент выпускается в двух исполнениях: с предохранительным клапаном и без него. Цена зависит от исполнения, типоразмера и производителя. Если вы хотите купить сетчатый всасывающий фильтр в городе Перми, компания «Гидропроект» предлагает только надежную продукцию от проверенных производителей.
Технические параметры
Изделия имеют следующие технические характеристики:
- условный проход Ду — от 8 до 80 мм;
- расход — от 2 до 400 л/мин;
- перепад давления — 0,007 МПа;
- тонкость фильтрации — от 80 до 160 мкм;
- вес — от 0,08 до 3 кг.
Рекомендованная вязкость масла может варьироваться в диапазоне от 10 до 300 мм2/с при температуре окружающей среды +10–55 °С. Цены на сетчатые всасывающие фильтры в компании «Гидропроект» всегда находятся на конкурентоспособном уровне. Получить бесплатную консультацию и оформить заказ можно прямо сейчас, заполнив небольшую форму заявки.
Уточнить актуальные цены на фильтр всасывающий и получить консультацию по интересующим вопросам можно по телефонам, указанным в разделе Контакты, или электронной почте office@hydroprojekt.ru.
Чтобы купить фильтр всасывающий в Перми, заполните форму:
по безналичному расчету.
Возможна отсрочка платежа.
